Nos cours
Pneus
Challenge Metzeler
Pièce TM
shopping_cart
Panier
(0)
Accueil
Vue éclatée
pièce TM
2018
MX 530Fi 4T
RESERVOIR
RESERVOIR
RESERVOIR - MX 530Fi 4T 2018
Numéro
Référence
Nom
Prix
Stock
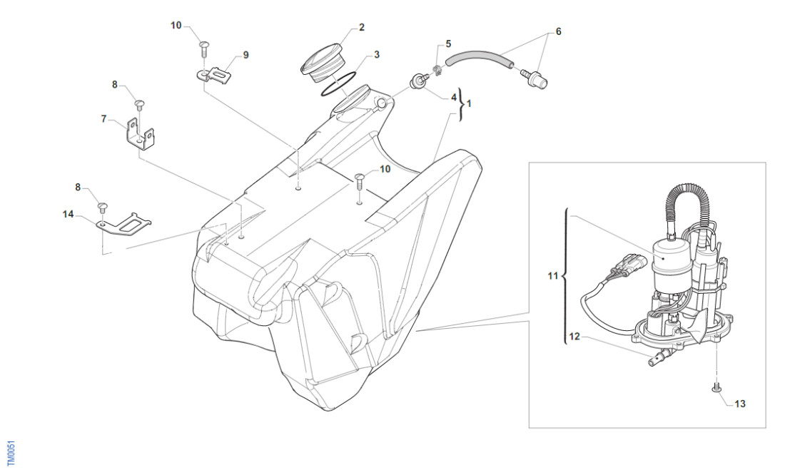
1
65131
SERBATOIO BENZ.IE TRSP M15F
Prix
284,52 €
999
2
65129
TAPPO SERBATOIO PST. 4T M15F
Prix
45,49 €
999
3
1512039
O RING X TAPPO SERBATOIO 4T
Prix
4,70 €
999
4
65035
KIT GOMMINO+SFIATO BIANCO X SERBATOIO 4T M.15->
Prix
4,95 €
999
5
16026
MOLLA PER TUBO BENZINA 13,3mm
Prix
1,63 €
999
6
65032
SFIATO SERBATOIO BENZ. 4T M.15-> BLU
Prix
3,76 €
999
7
68108
SUPPORTO RELE' STARTER F68102F
Prix
3,78 €
999
8
9449317
VITE TB LARGA 5X10 LAT.SERB.
Prix
1,49 €
999
9
0000
nous contacter
Prix
0,00 €
999
10
2049374
VITE TB LARGA 5X
Prix
2,88 €
999
11
08197.1
GRUPPO ASP.CAR.BIT.FL.+TERMF
Prix
434,18 €
999
12
08122
RACC.MASCHIO GR.P.BENZ.BITRONF
Prix
34,57 €
999
13
2249754
VITE TCEI 5X
Prix
2,35 €
999
14
201026119
PIASTRINO FISS. CONDENS.
Prix
4,67 €
999
check_circle
check_circle