Nos cours
Pneus
Challenge Metzeler
Pièce TM
shopping_cart
Panier
(0)
Accueil
Vue éclatée
pièce TM
2020
MX 85 JUNIOR
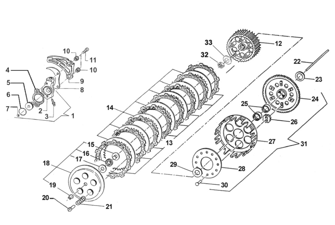
EMBRAYAGE
EMBRAYAGE
EMBRAYAGE - MX 85 JUNIOR 2020
Numéro
Référence
Nom
Prix
Stock
1
30206
COP. FRIZ/IDR 85/125 95/-> CPL
Prix
62,73 €
999
2
30205
COP. FRIZ/IDR 80/125 95/11 NUD
Prix
32,92 €
999
3
135264
VITE SPURGO OLIO FRIZ.IDR.6X
Prix
8,39 €
999
4
12505509
GUARN. POMPA FRIZ.IDR. 80/
Prix
2,02 €
999
5
35125
PISTONE POMPA FRIZ. 125 95/->
Prix
19,72 €
999
6
12259
O RING PISTONE FR.125/250VERDE
Prix
5,47 €
999
7
25019052
SFERA 8 X FRIZIONE
Prix
0,96 €
999
8
40022
PROTEZIONE ERGAL PIGNONE CAT.
Prix
5,80 €
999
9
40029
PROTEZIONE PIGNONE 09/-> PLAST
Prix
12,70 €
999
10
626212
BOCCOLA PROT. PIGNONE 125 F.
Prix
3,22 €
999
11
593149486
VITE TCEI 6X30 UNI
Prix
3,74 €
999
12
201425099.14
TAMBURELLO FRIZIONE 125
Prix
92,23 €
999
13
3502735012
REMPLACE PAR
Prix
21,07 €
999
14
0535019
DISCO FRIZ. ACC. 1mm 99/
Prix
11,10 €
999
15
26001
REGGISPINTA FRIZIONE
Prix
13,65 €
999
16
102419020
GABBIA A RULLI RAD. AXK
Prix
8,63 €
999
17
102419021
RONDELLA X GABBIA RULLI AS
Prix
4,46 €
999
18
35025
PIATTO SPING.FRIZ 125/KART CPL
Prix
83,25 €
999
19
49211
SEEGER E09 ANELLO PIATT.REG.
Prix
4,61 €
999
20
201449058
DADO FRIZIONE ERGAL 85CC
Prix
3,03 €
999
21
16020
MOLLA FRIZIONE 125 C/E 03/08BA
Prix
4,00 €
999
22
1035043
ASTINA FRIZ. IDR. 125 M.99/
Prix
7,24 €
999
23
248003
SPESSORE COP.PRIM.30X20X
Prix
6,34 €
999
24
6640400
COPPIA PRIM. 80/85 Z
Prix
206,74 €
999
25
1219013
GABBIA A RULLI K 20X24X
Prix
11,16 €
999
26
21005
GOMMINO PARASTRAPPI FRIZIONE
Prix
5,33 €
999
27
1325000
CAMPANA FRIZ.125 M.91/96 99/
Prix
58,24 €
999
28
35026
DISCO BATTUTA GOMM. FRIZ.KZ10B
Prix
13,17 €
999
29
348002
SPESSORE COP.PRIM.30X18X
Prix
5,88 €
999
30
549727
VITE PARASTRAPPI K9 M7X1X12.
Prix
2,69 €
999
31
0000
nous contacter
Prix
0,00 €
999
32
49052
DADO TAMBURELLO FRIZIONE
Prix
6,10 €
999
33
2549127
MOLLA A TAZZA DIN 2093 28X14,2X1,
Prix
2,72 €
999
check_circle
check_circle