Nos cours
Pneus
Challenge Metzeler
Pièce TM
shopping_cart
Panier
(0)
Accueil
Vue éclatée
pièce TM
2022
EN 144 Fi
EMBIELLAGE
EMBIELLAGE
EMBIELLAGE - EN 144 Fi 2022
Numéro
Référence
Nom
Prix
Stock
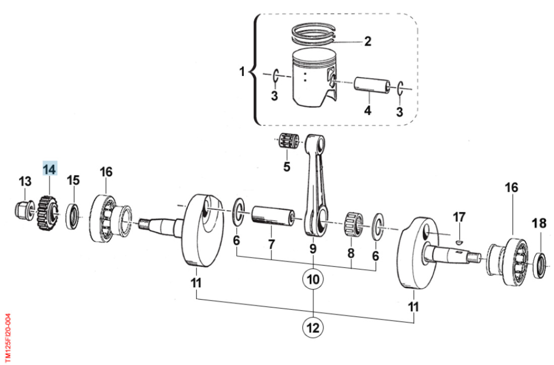
1
10023.94
PISTONE 55,94 2F 144cc CPL
Prix
144,33 €
999
2
11065
SEGMENTO 56 X 1 144cc
Prix
25,68 €
999
3
14409004.1
ANELLINO SPINOTTO PIST.125/
Prix
1,01 €
999
4
1009008
SPINOTTO PISTONE 125 15X41F
Prix
11,40 €
999
5
319034
GABBIA SPINOTTO 15X19X17,
Prix
22,00 €
999
6
2418248
RONDELLA ARGENTATA D.
Prix
6,12 €
999
7
18079
ASSE ACCOPP.D.24 mm f.8 c/tapp
Prix
38,13 €
999
8
17074
GABBIA ARGENTATA D.24X31X16 P.
Prix
65,29 €
999
9
18144
BIELLA FORGIATA NUDA 144 cc
Prix
381,49 €
999
10
18145
BIELLA 144cc CPL
Prix
373,94 €
999
11
0000
nous contacter
Prix
0,00 €
999
12
0001
nous contacter
Prix
0,00 €
999
13
2549094
DADO TRASMISS.125 06 M14X1.
Prix
7,35 €
999
14
40303
PIGNONE COPPIA PRIMARIA Z19 CR
Prix
58,76 €
999
15
04035
PARAOLIO 20x30x7 PTFE
Prix
16,76 €
999
16
03029
CUSCINETTO BC1-1442 B
Prix
82,15 €
999
17
25049012
CHIAVETTA PIGNONE COPPIA
Prix
2,59 €
999
18
04039
PARAOLIO 22x33x7 PTFE
Prix
12,61 €
999
19
10023.95
PISTONE 55,95 2F 144cc CPL
Prix
169,39 €
999
check_circle
check_circle